欧洲杯体育高换手率意味着时常往来-开云 (集团) 官方网站 Kaiyun 登录入口

炒股就看金麒麟分析师研报,泰斗,专科,实时,全面欧洲杯体育,助您挖掘后劲主题契机!
(着手:金钱独角兽)
转自:金钱独角兽
文|恒心
着手|金钱独角兽]article_adlist-->
(数据着手于天天基金网 功令11月13日)
十一黄金周之后,股市行情再次参加新阶段,普涨行情暂告一段逾期,股市出现结构分化、波动加重等特色。尽管在恒久乐不雅和短期避险神气的共同作用下,投资者追求相对安全一些的权力类居品。红利主题基金因其建立品种主要为具有一定安全垫,同期波动相对较小,但恒久收益又有跑赢大盘可能性的高股息证券,捏续受到市集柔顺。
近日笔者发现,浦银安盛基金正在刊行一款新址品,2024年11月7日,浦银安盛红利量化搀杂A/C,策划召募期为2024年11月7日——2024年11月27日,基金措置东说念主为浦银安盛基金措置有限公司。值得正经的是,该基金拟任基金司理为孙晨进。
(数据着手于天天基金网 功令11月13日)
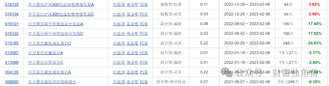
从赴任资格上看,孙晨进在华安基金任职过,2021年后又去了申万菱信基金任职,但在申万菱信任职本行状绩并不睬思,其中申万菱信量化成长搀杂A/C,任职周期1年又246天,任职报告-27.08%、-24.83%;另一只申万菱信碳中庸智选搀杂发起A/C,任职报告-17.45%、-17.62%。这回到了浦银安盛基金,又要刊行浦银安盛红利量化搀杂A/C但愿能为基民取得正向收益。除了孙晨进外,笔者还发现,浦银安盛基金旗下司理蒋佳良的居品事迹依然处于耗损情景。
蒋佳良高位捏有晶澳科技
蒋佳良旗下4只基金互相抄功课
蒋佳良曾于2006年至2008年任职中国工商银行法兰克福泽行资金部,2009年至2011年任职华宝证券有限连累公司证券投资部担任投资司理,2011年至2015年任职于安稳资产措置有限公司担任投资司理,2015年至2018年任职中海基金措置有限公司投研中心,历任基金司理和参议部总司理。
2018年6月加盟浦银安盛基金措置有限公司历任权力投资部总监助理,现担任参议部副总监。2018年11月起,担任浦银安盛新经济结构纯真建立搀杂型证券投资基金基金司理。2019年2月起任参议部副总监。现在累计任职时分7年又157天,措置的基金领域21.33亿元,在管基金最好任期报告123.17%。联系词,笔者发现,即即是大盘涨成这么,蒋佳良旗下的基金居品依然有耗损接近48%的居品。
(数据着手于天天基金网 功令11月13日)
据天天基金网流露,浦银安盛品性优选搀杂A成立于2021年12月28日,基金领域8.36亿元。功令11月13日基金单元净值0.5177,自基金成立来收益率-48.23%,本年来收益率-0.99%,近3月来收益率19.04%,近6月来收益率10.45%,近1年来收益率-2.98%,近2年来收益率-33.70%。
(数据着手于天天基金网 功令11月13日)
笔者还发现,该基金的换手率齐极高,2023年4季度算是换手率最低的一个季度,但也有483.87%,换手率最高的一次是在2022年4季度换手率655.41%。最新的一个季度换手率也在558.98%。高换手率意味着时常往来,这会导致投资组合的波动性增多。
时常贸易股票使得基金的捏仓结构束缚变化,难以形成踏实的投资组合。当市集出现波动时,高换手率的基金更容易受到影响,净值波动幅度可能会加大。其次,高换手率会增多基金的往来老本。每一次往来齐需要支付手续费、印花税等用度,时常往来使得这些老本束缚蕴蓄,裁减了基金的收益。
据统计,高换手率的基金往来老本可能会比低换手率的基金逾越数倍以致更多。临了,高换手率还可能导致投资盘算不清亮。时常往来使得基金的投资策略难以保捏踏实,投资者难以判断基金的投资场所和重心。这也会引起投资者关于基金团队才气的不信任,影响基金的市集声誉和投资者的信心。从2该基金两次基金司理任职能看出,高换手率下,蒋佳良任职措置的194天,任职报告-2.02%。2022年7月11日于今,由蒋佳良和杨达伟共同措置,任职天数2年又126天,任职报告-47.50%。
咱们望望,蒋司理到底选了什么股票,笔者发现,该基金在2022年3季度捏有107.01万股的阳光电源,2022年4季度捏有108.30万股。2023年1季度捏有126.37万股,到了2023年2季度一经没了捏仓,在该基金捏有本事,在2022年7月1日-2023年6月30日股票价钱着落了33.96%。
笔者发现,该基金在2022年3季度捏有17.38万股的派能科技,2022年4季度捏有9.88万股。到了2023年1季度一经没了捏仓,但在该基金捏股本事,在2022年7月1日-2023年3月31日股票价钱着落了21%。笔者翻看后头的数个季度,还好莫得不息捏有派能科技。
笔者还发现,该基金在2022年3季度捏有435.58万股的祥瑞航空,2022年4季度捏有435.58万股。2023年1季度捏有258.83万股,到了2023年2季度祥瑞航空的份额一经被清仓。联系词,该基金在捏有本事,在2022年7月1日-2023年6月28日股票价钱着落了20%。
笔者以致发现,该基金在2022年2季度捏有34.64万股的泸州老窖,2022年3季度捏有32.04万股,2022年4季度捏有12.75万股。2023年1季度捏有20.25万股,2023年2季度捏有23.67万股,2023年3季度捏有19.98万股,到了2023年4季度该基金对泸州老窖的捏股一经消散。
联系词,在该基金捏有本事,在2022年4月1日-2023年12月29日股票价钱高涨了0.5%。到了2024年2季度又买进了0.43万股,但这本事在2024年4月1日-2024年9月30日股票价钱着落了19.49%。
笔者发现,该基金在2024年2季度捏有了数只白酒股票,今世缘、古井贡酒、迎驾贡酒、贵州茅台,大部分齐是在9月份清仓了,其中,在2024年2季度买入0.87万股的今世缘,齐了2024年3季度一经被清仓,这本事2024年4月1日-2024年9月28日股票价钱着落了18%。
(数据着手于天天基金网 功令11月13日)
除了浦银安盛品性优选搀杂A基金事迹差外,笔者发现,浦银平衡优选6个月捏有搀杂A基金事迹也不太理思,该近成立于2021年5月25日,功令11月13日基金单元净值0.8072,基金领域0.79亿元。自基金成立来收益率-19.28%,本年来收益率9.17%,近1月来收益率8.20%,近6月来收益率12.83%,近1年来收益率8.88%,近2年来收益率-19.59%,近3年来收益率-33.49%。
(数据着手于天天基金网 功令11月13日)
基金事迹耗损,有基民示意,还好跑到快,躲过这个坑,掉别的基金坑里去了,不外这只基金是深坑。笔者发现,这只基金换手率更高,从各季度看换手率最低的是2024年2季度的560.08%,换手率最高的一个季度是2022年2季度换手率853.16%。
笔者发现,该基金在2022年1季度捏有11.25万股的晶澳科技,2022年2季度捏有15.76万股,到了2022年3季度就没了股票份额,在这本事,晶澳科技在2022年1月4日-2022年9月30日股票价钱着落了3%。到了2022年4季度又买进3.75万股,2023年1季度捏有10.42万股,2023年2季度捏有7.27万股,到了2023年3季度所捏股票一经被清仓,在这本事,在2022年10月10日-2023年9月30日股票价钱着落了44%。
(数据着手于天天基金网 功令11月13日)
笔者在翻看蒋司理旗下多只基金捏仓发现,有4只基金前十大重仓股存在互相抄功课的问题,以2024年3季度为例,有恒玄科技、广日股份、立讯精密、水晶光电、金地集团、宁德期间、迎驾贡酒、阿特斯、寒武纪,4只基金前十大重仓股有9只股票是一致的,这种思象对基民极为不利,近期是因为战略依托股市才能高涨,如若这9只股票出现着落,那对这4只基金的净值会同期变成影响。
捏股同质化有可能放大市集波动,基金的同质化极有可能放大了市集的波动。市集能不可冉冉裁减其波动性,基金的同质化关于裁减波动性是一个相配大的禁锢。笔者发现,如果买的时候宇宙齐在买,卖的时候一齐卖,而看到基金有许多的名字,关联词实验上基本投资作风和投资特色齐跟着市集场所的变化而变化,这最终也仅仅是千东说念主一面。
捏股同质化也会导致基金净值集体缩水,如果跟着市集估值水平的束缚推高,系统性风险的压力导致事迹优良的基金重仓股也呈现杀跌走势,“不怕看不准,生怕跑得慢”的潜轨则例必激发基金间的互相拼杀,从而导致股票的大幅着落以及基金净值的集体缩水。
浦银安盛基金司理青黄不接
除了蒋佳良旗下基金事迹不睬思外,浦银安盛基金司理胡攸乔事迹也不好。据天天基金网流露,胡攸乔于2015年11月至2018年6月在中海基金措置有限公司历任投研中心助理分析师、分析师;2018年6月至2020年4月在中原久盈资产措置有限连累公司任职参议员。
2020年5月加盟浦银安盛基金措置有限公司,任职行业参议员、基金司理助理。2020年12月3日起任浦银安盛医疗健康纯真建立搀杂型证券投资基金基金司理。2022年7月11日起任浦银安盛价值精选搀杂型证券投资基金基金司理。2023年3月3日起担任浦银安盛追究生涯纯真建立搀杂型证券投资基金的基金司理。
(数据着手于天天基金网 功令11月13日)
据天天基金网流露,现在胡攸乔累计任职时分3年又346天,现在措置的资产总领域7.23亿元,在管基金最好任期报告2.33%。现在在管3只基金,但3只基金齐出现耗损,任职本事耗损最大的是浦银安盛医疗健康搀杂A/C,任职报告-21.55%、-44.17%;浦银安盛价值精选搀杂A/C,任职报告-43.-6%、-43.60%。
(数据着手于天天基金网 功令11月13日)
据天天基金网流露,浦银安盛医疗健康搀杂A成立于2015年5月25日,基金领域3.71亿元。功令11月13日基金单元净值1.0280,自基金成立来收益率20.21%,本年来收益率-10.53%,近1月来收益率3.68%,近6月来收益率-7.04%,近1年来收益率-11.04%,近2年收益率-27.37%,近3年来收益率-42.68%,近5年来收益率17.51%。浦银安盛医疗健康搀杂 A 近期融会不尽东说念主意。
(数据着手于天天基金网 功令11月13日)
基金事迹耗损,有基民示意,这个还能买吗,还亏好多呢,买点进去拉下老本,会不会又陷进去。有基民跟帖示意,如故换别的吧!医药主题基金比他强的有许多,为啥要在这只基金这耗着。也有基民示意,这个胡司理孤立掌管这只基金之后亏了些许了?y医疗指数昨天涨了8%,你涨4%,求教胡司理是咋选的股?收费比ETF高,你好事理吗?
(数据着手于天天基金网 功令11月13日)
胡攸乔任职本事,用了3年又111天,任职报告-44.43%。从该基金变动一览表看出,胡攸乔和“宿将” 陈蔚丰共同措置基金,其任职报告41.17%;但该基金大部分收益齐是陈蔚丰创造的,其措置的3年又32天,任职报告104.59%。
从收益来看,这些新东说念主措置的基金融会欠安,阐述东说念主才队伍出现断层。跟着 “宿将” 事迹回撤,初出茅屋的新基金司理无法带给投资东说念主信心,受制于东说念主才梯队的 “青黄不接”,浦银安盛旗下的权力类基金冲破现存局限濒临显明禁锢。
咱们以2021年为界限,望望胡攸乔的事迹,不外,一些捏续也具有延续性,在2020年就捏有。笔者发现,该基金在2020年2季度捏有36.05万股的药明康德,2020年3季度捏有25.05万股,2020年4季度加仓至45.18万股。2021年1季度捏有27.64万股,2021年2季度捏有29.19万股,2021年3季度捏有43.85万股,2021年4季度大举加仓至104.68万股。
2022年1季度捏有95.00万股,2022年2季度捏有77.02万股,2022年3季度捏有38.64万股,2022年4季度捏有43.56万股。到了2023年1季度药明康德股票被清仓了,在捏股本事,在2021年2、3、4季度药明康德股价革命高,这时候该基金加仓至高位,2022年发觉股票价钱一直鄙人跌,才开动减仓,在减仓的经由中,也拉低了基金净值。
笔者还发现,2020年4季度捏有76.66万股的爱尔眼科,到了2021年1季度一经没了捏仓,在这本事,爱尔眼科涨幅18%。到了2021年2季度又买进58.77万股,2021年3季度捏有90.47万股,2021年4季度大举捏有176.28万股。2022年1季度捏有175.05万股,2022年2季度捏有196.01万股,2022年3季度捏有179.36万股,2022年4季度捏有127.58万股。到了2023年1季度一经没了捏仓,在该基金捏股本事,在2021年4月1日-2023年3月30日股票价钱跌幅11.3%。
笔者发现,该基金在2020年4季度捏有27.27万股的泰格医药,到了2021年1季度莫得了仓位,在这本事,股票价钱高涨了46%。2021年2季度捏有14.32万股,2021年3季度捏有37.21万股,2021年4季度捏有50.41万股。到了2022年1季度又没了泰格医药的股票仓位,在这本事,在2021年4月1日-2022年3月30日股票价钱着落了28%。2022年2季度捏有44.05万股,2022年3捏有捏有37.46万股,2022年4季度捏有26.81万股。到了2023年1季度没了捏仓,在这本事又着落了10%。
笔者发现,该基金在2020年4季度捏有30.23万股的盈康人命(维权),到了2021年1季度一经没了股票份额,在这本事2020年10月8日-2021年3月30日股票价钱着落了28%。到了2021年2季度又一次性买入125.50万股,在这本事在2021年4月1日-2021年9月30日股票价钱又着落了25%。2022年4季度又买入了92.23万股的盈康人命,到了2023年1季度又没了捏仓,在这本事股票价钱高涨12%。
2020年4季度捏有17.81万股的凯莱英,2021年1季度捏有10.33万股,2021年2季度捏有12.67万股,2021年3季度捏有10.86万股,2021年4季度捏有19.16万股。到了2022年1季度所捏有的凯莱英一经莫得份额,在这本事股票价钱高涨了50%。联系词,到了2022年2季度再度买入2.61万股,思轻仓试一下,遵守2022年4月1日-2022年9月30日股票价钱着落了48%。2022年4季度又买入4.44万股,到了2023年1季度又没了股票份额,在这本事股票价钱着落4%。
(数据着手于天天基金网 功令11月13日)
]article_adlist-->
新浪声明:此音信系转载悔改浪融合媒体,新浪网登载此文出于传递更多信息之成见,并不虞味着赞同其不雅点或说明其形态。著作内容仅供参考,不组成投资提倡。投资者据此操作,风险自担。
海量资讯、精确解读,尽在新浪财经APP
连累裁剪:石秀珍 SF183欧洲杯体育
